Патент BMW намекает на сюрприз для фанатов Rolls-Royce

Автор: Анна Рудакова
Фото: © press.rolls-roycemotorcars.com

Rolls-Royce возвращается к истокам: капот-шкаф снова в моде

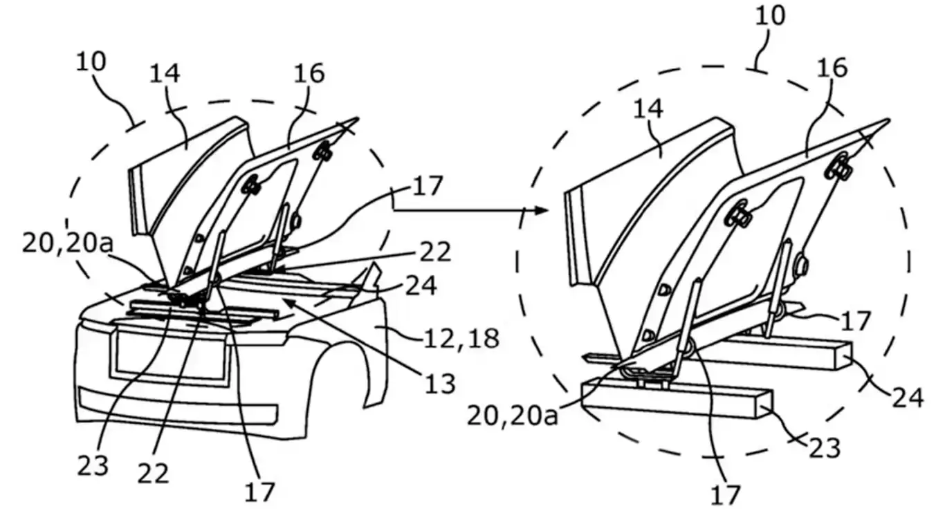
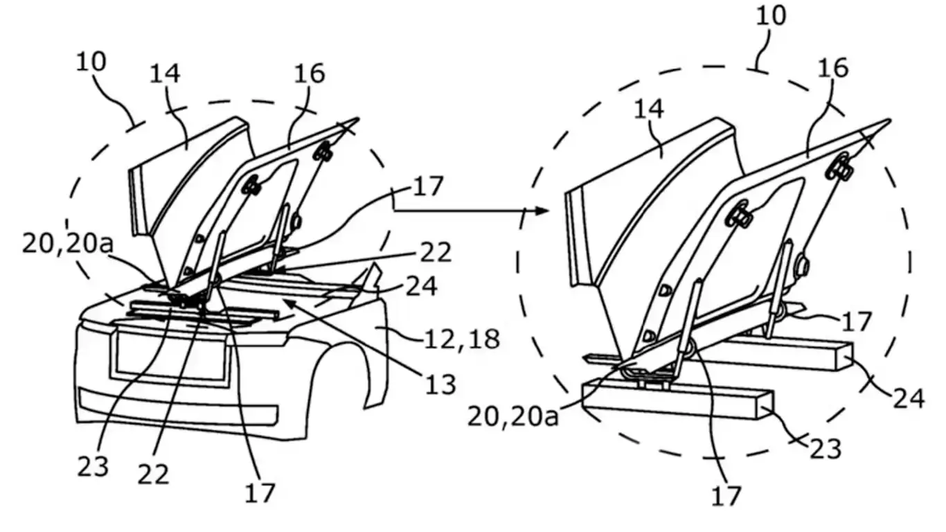
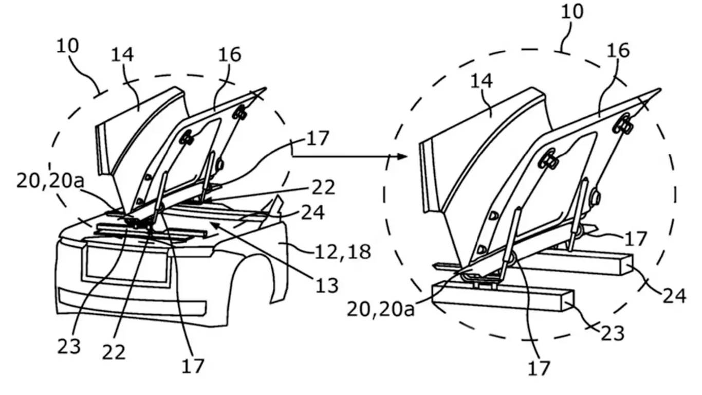
В базе WIPO (Всемирная организация интеллектуальной собственности) была обнаружена патентная заявка от BMW AG, раскрывающая оригинальную конструкцию двухсекционного капота с центральными петлями. Хотя бренд Rolls-Royce напрямую в документах не указан, конструкция и визуальная схема явно перекликаются с такими моделями, как Phantom, Ghost, Spectre и Cullinan, пишет TARANTAS.NEWS.

Согласно патенту, предусмотрено два варианта: один — с петлями по центру, открывающими капот, как двери шкафа; другой — с четырьмя петлями у основания лобового стекла, разделяющими капот на две независимые панели. Подобная схема уже применялась на эксклюзивном Rolls-Royce Boat Tail, где раздельные элементы обеспечивали доступ к багажному отсеку.

Теперь же, по всей видимости, подобный подход рассматривается и для будущих электрических моделей, чтобы облегчить доступ к силовым компонентам или переднему багажнику. Возвращение такой детали — это не просто ностальгия. Это демонстрация внимания к деталям и связи с историей бренда.

Капот с распашной конструкцией не только функционален, но и подчёркивает роскошный характер автомобилей Rolls-Royce, играя на эстетике «золотой эпохи» британского автопрома. Хотя в компании подчёркивают, что патент — не гарантия серийного воплощения, всё говорит о том, что дух классики вполне может обрести форму на следующих поколениях моделей Rolls-Royce.